PV1500A-3.5A
Photovoltaic Fuses
gPV Fuses
The PV1500A Series solar fuse is designed to integrate into an in-line assembly within a wire harness. The PV1500A Capable of withstanding high cycling and low level fault current conditions.
Features
- Compliance with US Requirements
- Ceramic Body construction
- RoHS compliant
- Designed to UL 248-19 Recognized
- Low watts loss

Part Numbering System

Specification
| Part Number | Current Rating (A) |
Voltage Rating | Interrupting Rating | Energy Integrals I²t (A²S) | Power Loss @1.0In (W) |
|
|---|---|---|---|---|---|---|
| Pre-Arcing | Total at 1500V | |||||
| PV1500A-2.5A | 2.5 | 1500VDC@10kA1500VDC@20kA | 3.7 | 15.6 | 2.1 | |
| PV1500A-3A | 3 | 17 | 55 | 2.1 | ||
| PV1500A-3.5A | 3.5 | 17 | 55 | 2.2 | ||
| PV1500A-4A | 4 | 21 | 73 | 1.85 | ||
| PV1500A-6A | 6 | 61 | 195 | 2.1 | ||
- DC Interrupting Rating - Measured at designated voltage, time constant < 50 microseconds.
- Typical Melting I2t measured at 10In Current.
- Typical Voltage Drop measured at rated current after temperature has stabilized.
- Interrupting rating 20kA(Self-Certified)
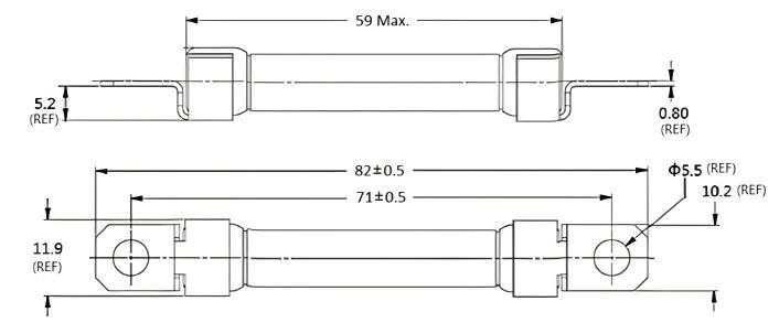
Dimension
(Unit: mm)
Cartridge type, ordering code - PV1500A-xxA

Package/MOQ
PV1500A-xxA: 20pcs fuses in one carton;
PV1500A-xxA-I /B: 28pcs fuses in one carton.
In-line crimp terminal type, ordering code - PV1500A-xxA-I

Note: for 10-12AWG (6-4mm2 ); Recommended Crimping Tool: T&B Sta-Kon ERG4002 or equivalent .
Bolt Down (Axial) type, ordering code - PV1500A-xxA-B

Temperature Re-Rating Curve

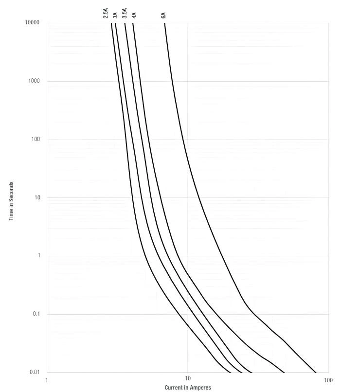
Time Current Curve
